手机处理器性能天梯图:跑分对决,旗舰芯片实力排名全解析
- 问答
- 2025-10-21 08:26:36
- 1
哎 说到手机处理器这玩意儿 真是让人又爱又恨… 每次新机发布都吹得天花乱坠 什么“最强芯片”“性能怪兽” 但实际用起来 好像也就那么回事?今天就想随便聊聊这些芯片的真实力 可能说得有点乱 你凑合听。
先说我自己的体验吧 去年换手机时在骁龙8 Gen2和天玑9200之间纠结了好久… 跑分数据看得头晕 最后还是闭眼选了骁龙,结果发现 日常刷短视频 聊微信 根本感觉不出差别 只有玩原神开最高画质时 才隐约觉得发热控制好像好那么一丢丢?但为此多花几百块 值不值真的难说。
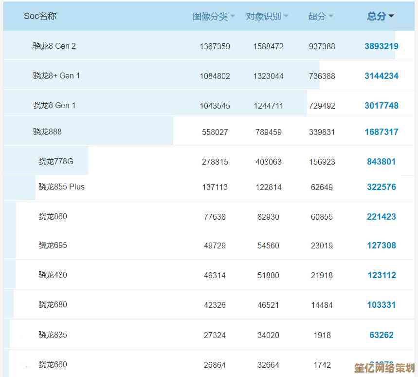
现在这些芯片跑分 安兔兔啊Geekbench啊 数字越来越吓人 动不动就百万分起跳,但有个很诡异的现象:有些芯片跑分高得离谱 实际用起来却会莫名卡顿… 比如我之前用过某款天玑8100的手机 跑分碾压同级 但支付宝扫个码都要等两秒 真是见鬼了,后来才知道是系统调度问题 所以啊 光看跑分真的会踩坑。
最近旗舰芯片基本就是骁龙8 Gen3和天玑9300的对决吧,骁龙这次在GPU上发力很猛 游戏党可能更爽一点 但说实话 除非你天天带着测温枪打游戏 否则普通人真的… 感觉不出来,天玑9300搞了个全大核设计 听起来很激进 但续航会不会崩还是个问号,我朋友买了台样机 他说刷半小时微博就烫手 这… 有点劝退啊。
苹果的A17 Pro倒是稳得一批 但价格也太吓人了,而且它那个散热… 咳咳 玩十分钟游戏就降亮度 库克是不是觉得iPhone用户都不玩游戏啊?不过单核性能确实独孤求败 这点没得黑。
其实中端芯片才最有意思 像骁龙7+ Gen2这种 性能都快追上上一代旗舰了 价格却便宜一半,我表弟去年买了个千元机用天玑8200 到现在还流畅得一塌糊涂 搞得我都有点怀疑人生——我们花五六千买旗舰机 到底图啥呢?
还有个小众但很妖的芯片 谷歌Tensor G3,跑分被安卓阵营吊打 但拍照算法优化神乎其神… 我拿它和骁龙8 Gen3的手机拍同一朵云 出来的色彩科学完全不一样,所以跑分到底能说明啥?可能就像考试分数不能代表一个人全部能力吧。
散热也是个玄学,有些厂商堆VC均热板跟不要钱似的 结果体验还不如别人小尺寸的手机,我猜可能跟机身材质有关?金属边框导热快但烫手 玻璃后盖热但摸起来温和点… 哎 这些细节评测视频从来不说清楚。
说到最后 我觉得买手机真的不能光看芯片排名,就像找对象 不能光看学历高低对吧?系统优化、散热设计、甚至手感重量都特别重要,下次换机我可能不会再盯着跑分排行榜较劲了… 大概会去实体店实际摸一摸 玩两把游戏 感受下发热和流畅度,毕竟数据是冰冷的 但手感和眼缘骗不了人。
对了 突然想起个事 去年评测机构说某芯片GPU提升50% 结果被网友发现是换了测试模型… 这种骚操作现在越来越多了,所以看天梯图时 最好也留意下数据来源 别被数字游戏忽悠了。
吧 芯片性能这东西 够用就好,除非你是极客玩家 否则真没必要追求最顶级的… 省下的钱买个好耳机 或者带家人吃顿好的 可能更实在,你说是不是?
本文由太叔访天于2025-10-21发表在笙亿网络策划,如有疑问,请联系我们。
本文链接:http://www.haoid.cn/wenda/35187.html